9 best mobile camera sensors on the market today

By Team Digit | Updated Apr 26 2017
9 best mobile camera sensors on the market today

Somewhere beneath the metal, glass or plastic exterior lies an image sensor that drives your smartphone's camera. It's what's responsible for making your plate of food look good!

9 best mobile camera sensors on the market today

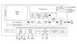
Here's a block diagram by Sony, explaining what all goes into a mobile image sensor. This particular one is from the Sony IMX318, used in a bunch of Asus smartphones and the Xiaomi Mi Note 2.

Let us begin...

9 best mobile camera sensors on the market today

Sony IMX333

Beginning with one of the newest smartphones out there, the Samsung Galaxy S8 (review) is almost the same as its predecessor in terms of camera, but there's a new image sensor this time.

With sensor size of 1/2.5", the Sony IMX333 is a 12.2 MP camera sensor, with 1.4 micron pixel size. It's an RGB sensor and Sony added its dual-pixel tech to make it a sweeter deal.

9 best mobile camera sensors on the market today

Sony IMX378

The Google Pixel XL (review) wreaked havoc on smartphone cameras last year. Of course, Google's excellent camera and HDR algorithm played a big role, but the IMX378 is a proven performer.

Like the IMX333, this is also a 12.2MP sensor. However, the IMX378 brings one of the largest pixel sizes out there. At 1.5 micron, it can manage a lot of light.

9 best mobile camera sensors on the market today

Sony IMX400

This 19MP image sensor is the newest one Sony has produced. it has added DRAM between the CMOS sensor stack that increases buffer memory, allowing cameras to start processing scenes before you actually press the shutter button. It's 1.22 micron pixel size is decent and though the Sony Xperia XZs (review) isn't the best phone for its first showcase, it did impress us.

9 best mobile camera sensors on the market today

Sony IMX258

The IMX258 has been used on the LG G6, but it's also been part of many other dual-camera devices, including the Xiaomi Mi 5s. It's a 13 MP sensor and comes with 1.12 micron pixel size.

9 best mobile camera sensors on the market today

Sony IMX362

The Asus Zenfone 3 Zoom (review) was one of the first smartphones to use this sensor, but that didn't set a good example. However, Sony recently brought the dual-pixel feature to this sensor and Motorola took full advantage of it on the Moto G5 Plus (review).

Long story short, this 12MP sensor is one to watch out in 2017.

9 best mobile camera sensors on the market today

Sony IMX298

Used on the Asus Zenfone 3 (review), OnePlus 3 (review) and OnePlus 3T (review), Xiaomi Mi 5 and more, this camera sensor seems to be the pick for OEMs that focus on value for money. The IMX298 has proven itself on all these smartphones, and we look forward to any other phone that makes use of it.

9 best mobile camera sensors on the market today

Sony IMX286

You may not have heard of the IMX286. That's because it was used on the Huawei P9 (review). It got overshadowed by Leica's involvement in the matter, but this is still one of the best image sensors out there, and one you should watch out for when reading specs lists.

9 best mobile camera sensors on the market today

Sony IMX260/Samsung ISOCELL S5K2L1

These two image sensors aren't really interchangeable, but that's exactly what Samsung did with them. These are the two sensors that were used on the Galaxy S7 (review) and S7 Edge (review) last year.

Though there were noticeable differences, the Samsung sensor didn't really fair badly.